Hogar / Noticias / Comprensión de la estructura y el mecanismo de los actuadores giratorios hidráulicos

Comprensión de la estructura y el mecanismo de los actuadores giratorios hidráulicos

Vistas:0     Autor:Editor del sitio     Hora de publicación: 2024-11-28      Origen:Sitio

Preguntar

facebook sharing button
twitter sharing button
line sharing button
wechat sharing button
linkedin sharing button
pinterest sharing button
sharethis sharing button

Los actuadores giratorios hidráulicos son componentes esenciales en maquinaria industrial y móvil, ya que convierten la energía hidráulica en movimiento de rotación controlado. Este artículo profundiza en el diseño estructural y los principios de funcionamiento del actuador rotativo hidráulico serie CY2, centrándose en sus componentes y características clave.

7db985abcd4fbdb1cfc5b8df349ff35


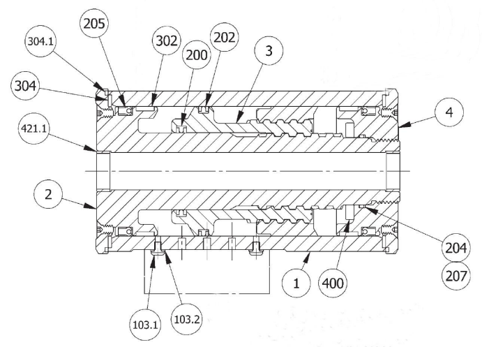
Componentes clave del actuador giratorio hidráulico CY2


La estructura del actuador rotativo hidráulico serie CY2 está meticulosamente diseñada para garantizar eficiencia y durabilidad. A continuación se detallan sus principales componentes:


1. Anillo de engranaje integrado (1): El anillo dentado está integrado en la carcasa del actuador y permanece estacionario durante el funcionamiento. Sus ranuras internas interactúan con las estrías helicoidales del manguito del pistón para facilitar el movimiento de rotación.


2. eje central (2): Este eje cuenta con una brida de montaje y cojinetes integrales, que brindan un soporte robusto para cargas axiales y radiales. El eje se conecta directamente a la maquinaria y transmite el movimiento de rotación.


3. Manga del pistón (3): El manguito anular del pistón tiene ranuras helicoidales internas y externas. Estas ranuras se acoplan con el eje central y el anillo de engranaje, traduciendo la fuerza hidráulica lineal en movimiento de rotación.


4. Tapa final (4): La tapa del extremo sella la carcasa del actuador, mantiene las holguras axiales y permite ajustes con tornillos y pasadores de retención. También garantiza que el sistema esté presurizado de manera efectiva.



Mecanismo operativo


El actuador giratorio hidráulico CY2 convierte el movimiento lineal en movimiento rotacional mediante un sistema de estrías de doble hélice:


1. Cuando se introduce fluido hidráulico en el actuador, la presión fuerza al manguito del pistón a moverse axialmente.

2. Las estrías helicoidales internas del manguito del pistón se acoplan con el eje central, provocando que gire.

3. Al mismo tiempo, las estrías externas del manguito interactúan con el anillo dentado estacionario, duplicando el efecto de rotación.


Esta acción sincronizada da como resultado un movimiento de rotación potente y preciso, lo que hace que el actuador sea ideal para tareas que requieren alto torque y precisión.



Soporte de carga y durabilidad


Los actuadores de la serie CY2 están diseñados para un rendimiento de servicio pesado, con características que mejoran su durabilidad:


Soporte de carga radial: Los anillos guía de alta resistencia (p. ej., 302) evitan el desgaste y distribuyen las cargas de manera uniforme.

Aislamiento de carga axial: Las arandelas de empuje (304) absorben las fuerzas axiales, reduciendo la tensión en el eje central.

Válvula de contrapeso: Las válvulas incorporadas brindan protección contra sobrecargas, bloqueo posicional y rotación controlada bajo cargas excéntricas.



Mantenimiento y personalización


El mantenimiento regular y el uso de herramientas adecuadas son cruciales para la longevidad de los actuadores rotativos hidráulicos. Se recomiendan las siguientes prácticas:


Reemplazo del sello: Reemplace siempre los sellos y cojinetes como kits completos para garantizar la compatibilidad y el rendimiento.

Ajustes de tiempo: Utilice marcadores y herramientas de inspección para alinear las marcas de sincronización durante el reensamblaje.

Herramientas personalizadas: Cree o utilice herramientas especializadas, como destornilladores modificados, para simplificar la instalación del sello y evitar daños a los componentes.



Aplicaciones del actuador rotativo hidráulico serie CY2


Con su estructura compacta, alto par de salida y operación confiable, la serie CY2 se usa ampliamente en:


Automatización Industrial: Sistemas de posicionamiento y brazos robóticos.

Maquinaria de construcción: Operaciones de rotación de pluma y garfio.

Equipo de minería: Posicionamiento de taladros y manipulación de materiales.

Sistemas de vehículos: Mecanismos de dirección y sistemas de tracción.


Conclusión


El actuador giratorio hidráulico de la serie CY2 presenta un diseño innovador que combina resistencia, precisión y adaptabilidad. Comprender su estructura y mecanismo resalta por qué es la opción preferida para aplicaciones industriales y móviles exigentes.


Para obtener más información sobre los actuadores giratorios hidráulicos o soporte técnico, comuníquese con Changsha Chiyu Hydraulic Equipment Co., Ltd. o consulte el número de serie de su equipo para obtener especificaciones detalladas. Garantice el mantenimiento adecuado y utilice componentes auténticos para maximizar el rendimiento y la durabilidad.


Nuestro equipo de ventas y servicio estará

feliz de ofrecerle cualquier sugerencia

puede tener.

Deje mensaje
CONTÁCTENOS

CONTÁCTENOS

+86-186-6934-0800
jason@chiyu-hydraulics.com
China, Changsha, Renmin Road 2D (E) 169
Derechos de autor 2023 Equipo hidráulico Co., Ltd. de Changsha Chiyu 湘ICP备2023016609号-2 Reservados todos los derechos Mapa del sitio |Con apoyo de plomo